JA-14.50 Fixed-Angle Aluminum Rotor, Biosafe, 16 x 50 mL conical, 14,000 rpm, 35,000 x g

Product No:B88554

JA-14.50 fixed-angle rotor assembly with dual-locking lid, Aluminum; Major applications: Lightweight rotor for pelleting and density gradient separations. Separate Proteins, lysate/tissue homogenates, nucleid acids, cells, viruses and blood. For use in Avanti J Series centrifuges.

Product Specifications

Rotor Type Fixed-Angle (High Performance)
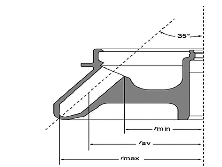
Angle 35
Maximum RPM 14,000 rpm
k-Factor 787
Number of Tubes 16 x 50 mL
Nominal Size 30 x 115 mm
Nominal Capacity 800 mL
rMAX 160
rMIN 87
BioSafe Yes
Materials Aluminum rotor
Item Specifications Referenced B88554